同步帶輪加工固定底座的制作方法與工藝
同步帶輪技術特征:
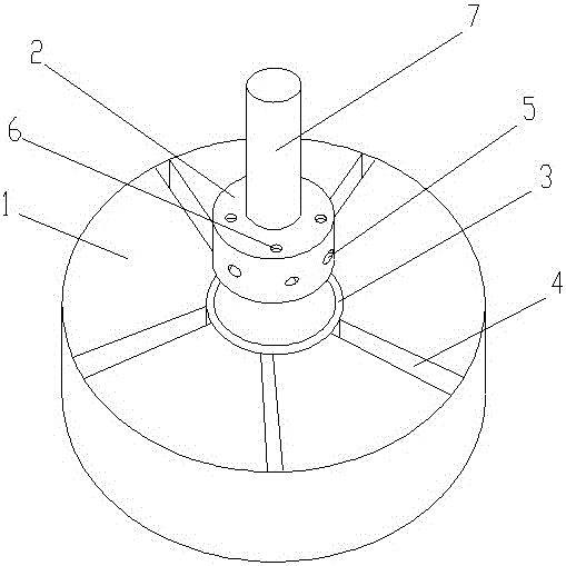
1.一種同步帶輪加工固定底座,包括底座本體和加固座,其特征在于,所述底座本體中央開設有一環形卡槽,所述環形卡槽外側的底座本體上開設有多條排液槽,所述排液槽一端連接到所述環形卡槽上,所述排液槽另一端導向所述底座本體外部,所述加固座與所述環形卡槽對應上下卡合,所述加固座側端面上開設有多個橫向螺母鎖孔,所述橫向螺母鎖孔開設位置分別與所述排液槽開設位置對應,所述加固座上端面上還開設有多個縱向螺母鎖孔,所述橫向螺母鎖孔和所述縱向螺母鎖孔內均導入緊定螺母連接固定,所述加固座上端中央豎直導出一同步帶輪卡柱。
2.根據權利要求1所述的同步帶輪加工固定底座,其特征在于,所述同步帶輪卡柱下端與所述加固座一體式連接,所述同步帶輪卡柱上端對應支起同步帶輪。
3.根據權利要求1所述的同步帶輪加工固定底座,其特征在于,所述加固座上端通過緊定螺母連接導入所述縱向螺母鎖孔而固定在所述底座本體上,所述加固座側端面通過緊定螺母連接導入所述橫向螺母鎖孔而加固。
4.根據權利要求1所述的同步帶輪加工固定底座,其特征在于,所述排液槽為直線型凹槽。
iHF齒輪21年只做一件事精密齒輪制造—同步帶輪—同步帶,生產廠家標準件大量庫存當天發貨價格優質保障,集研發.生產.服務一體化,版權所有:http://www.viphunan.cn轉載請注明出處
- 讓同步帶輪不會發熱的知識點,您要了解嗎?
- 附近的齒輪加工廠電話 189-2935-7195
- 同步帶輪htd型(圓弧形齒)選型圖
- 使用同步帶輪傳動的特點
- 現代數控機床采用同步帶輪傳動如何控制機床的噪音?
- 用戶最好是購買知名廠家制造的材質質量好尺寸精準的同步帶輪
- 同步帶輪的使用壽命由哪些方面影響的呢
- 對于同步帶輪的成本應該如何控制
- 同步帶輪也需要維護
- 同步帶輪:將力量分散處理
聯系iHF齒輪
18929357195
售后電話:0755-27746221
客服QQ:2850623673
郵箱:2850623673@qq.com
地址:深圳市龍華新區大浪創藝路16號安宏基工業園C棟


